前言
无线充电技术在目前的生活中早已见怪不怪,无线充电在手机等小型设备上早已普及。无线充电原理是通过近场感应,由无线充电设备将能量传导到充电终端设备,终端设备再将接收到的能量转化为电能存储在设备的电池中。能量的传导采用的原理是电感耦合,可以保证无外露的导电接口,可以省去传输线,对于电动牙刷等经常与液体等导电介质接触的电子设备也更加安全。

在很多游戏作品与文学作品中,无线充电都扮演了重要的角色。在小岛秀夫游戏“死亡搁浅”中,主角山姆所穿的机械外骨架、驾驶的载具,无一不是采用无线充电方式来充能。在刘慈欣小说《三体》中,当面壁人罗辑从冬眠中醒来时发现,人类也早已普及应用了无线充电技术。
但在现实生活中,由于无线充用的发射线圈和接收线圈组成的变压器结构受限,能量传输效率理论上低于一般充电器;且手机等接收产品大多限制输入功率,所以充电速度比较慢;还因为充电器需要电子电路推动线圈,受电装置需要电子设备转换功率。两者都需要线圈和一个高频滤波电路来满足电磁兼容性,成本比直接充电高,所以在交通工具上,无线充电还无法大面积普及。但随着新能源产业的发展,很多厂商都开始在出行载具上应用无线充电技术。本期充电头网就收集汇总了当前市面上支持无线充电的电动车和踏板车相关产品,下面一起来看详细内容。
支持无线充电动自行车和电动滑板车
BMW宝马
宝马的C Evolution踏板车采用现代简洁的双色设计,凸显车身视觉亮点,既满足城市日常通勤,亦能彰显车主时尚品味,拥有不俗的美学视觉体验。配合现代感十足的侧开门储物箱和简洁的悬浮式坐垫等亮点设计。

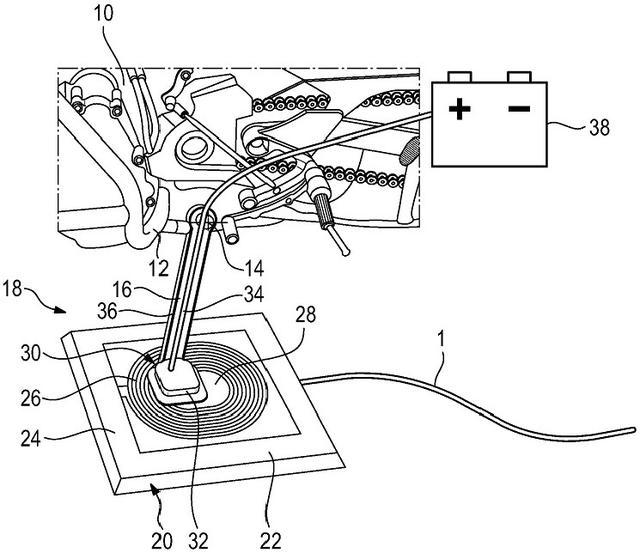
宝马旗下的C Evolution电动踏板车是宝马一款极具争议的产品,虽然这款车因为高昂的售价在国内销量不佳,但宝马在电动领域的努力却未曾停止。自2019年开始,就开始申请电动车无线充电相关技术的专利。无线充电领域,考虑到电动车更小的体积、更低的停放难度、电池的容量大小,电动车相较于汽车有着与生俱来的优势。宝马从日常生活中的手机无线充电中获得灵感,决定开发电动车无线充电。

宝马想在地面上建一个无线充电板,将接收器放到摩托车的侧边支撑架上,当侧支架放在无线充电板上时,就可以让电动摩托车进行无线充电。
Meredot

Meredot是全球领先的电动滑板车和微型移动快速无线充电器开发商和制造商,推出了其首款商用无线充电器。无线充电器是由特殊材料制成的物理垫,可以放置在地面上方或下方。它与电动滑板车、电动自行车和所有流行品牌的潜在其他类型的电动汽车兼容,例如鸟、石灰、博尔特、小米等。无线充电器以无线和无线方式为车辆充电,无需手动插入和拔出或更换电池。当配备接收器的车辆停在地面垫上时,充电过程会自动开始,无需精确停车。
Meredot无线充电器是同类产品中第一个使用磁性架构构建的充电系统。该设备利用Meredot的模块化设计,让车队运营商可以选择任何停车和充电位置,无论地理位置,天气条件,温度下降,湿度等如何。与非模块化系统相比,无线充电器的模块化结构使其更快、更易于维修和扩展。

使用Meredot无线充电器时电动滑板车不必精确地停放在无线充电器上。无论车辆放置在什么角度,充电都会自动开始,并且在 10-15 厘米的范围内。无论道路间隙如何,每个垫子都可以与每种电动滑板车型号互操作。Meredot无线充电器可以安装在地面或地面下方。沥青、水泥、雪、雨或冰不会影响电力传输。Meredot无线充电器支持FOD(异物检测)、LOD(活物检测)和 PD(位置检测)等功能提供高级保护和易用性。Meredot无线充电器可以通过更换内部设备来适应区域电力要求和标准。
Shel壳牌

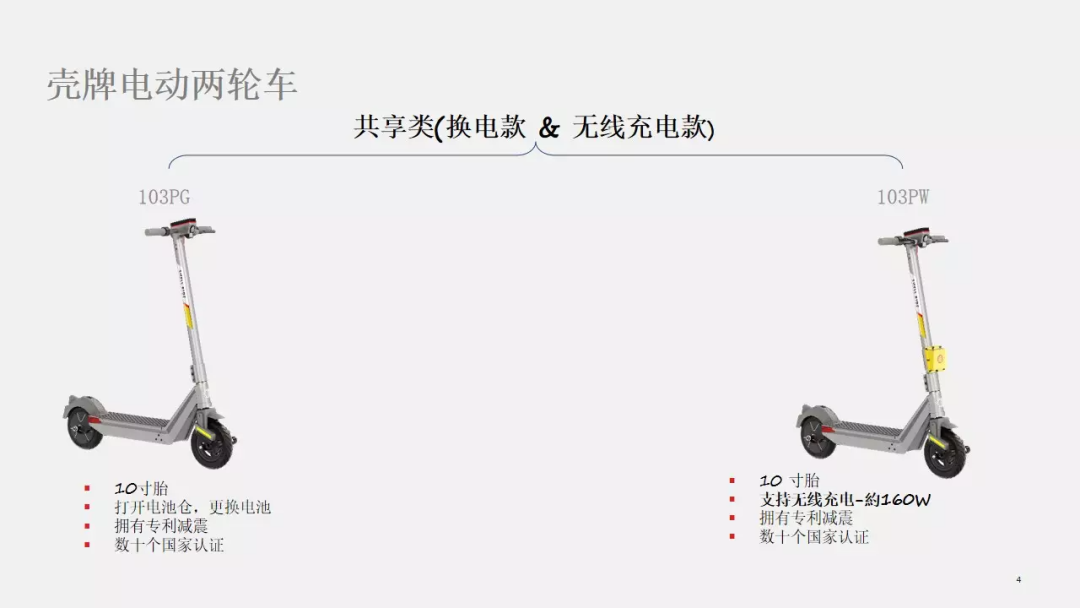
壳牌共享类电动两轮车有换电款(103PG)和无线充电款(103PW),前者采用两个10寸轮胎,内置专利减震系统,行驶平稳。此外基于换电概念设计,打开电池仓更换电池简单方便,即换即用无需等待,两款车型都获得了数十个国家的相关认证。

103PW电动两轮车采用10寸轮胎,内置专利减震系统以及非接触式无线充电系统,最高时速可达30km/h,最远可行驶40公里。车子内置500W电机,支持前后轮双刹车,目前已经在多个国家部署,用于共享业务。103PW采用杰圣思乐行1号系统,包括700W级光伏发电系统、10KW级薄型安全电池宝、电动两轮车、电池管理系统、物联网云技术管理系统等各方面均已成功实现,可量产投入使用,车子采用IP67无线充电能量接收模块进行充电。
杰圣思在无线充电方案、充电管理、减震、电池管理等方面拥有专利技术与技术优势。如无线充电方案,同比体积缩小3倍、温度降低30%、成本降低1倍、响应速度提高 10万倍、安全系数提高10倍以及维护成本降低10倍;车子采用创新减震技术,可耐冲击25万次,缓冲效果更柔和。
TAILG台铃

N9超智版智能电动车无线充电的充电方案采用了全新的设计思路,巧妙地将无线充电发射模块集成在充电器中,外部仅保留一个无线充电线圈结构。利用英诺赛科氮化镓功率器件,使充电器在集成AC-DC、无线充电发射以及复杂的逻辑控制电路的情况下,仍然保持小巧的外形,同时实现高效率快充,减少大功率发热现象。打破了传统电动车的充电方式,颠覆大众认知。

台铃狮子王搭载了台铃多年研发的云动力 4.0系统,具有高效省电的特点,核心部件是一只1500W的磁感云电机,起步猛,加速快。搭载了72V45Ah的石墨烯二代电池,最大续航245公里,顶配版本还支持无线充电,本车型尚未量产。高配版本支持4小时快充!
充电头网总结
无线充电的概念由来已久。致力于电力研究的科学家尼古拉·特斯拉早在1891年便演示了洲际无线电力传输,进而确定了我们大部分的现代生活方式本次充电头网汇总的这些案例,均属于电动车无线充电领域。就现阶段而言,无线充电在日常出行领域的普及还是面临着很多困难。如无线充电标准的不统一、技术的不成熟。但考虑到无线充电的便捷性,相信无线充电技术将会在不远的将来进一步的发展与普及。
相关阅读
1、支持磁吸无线充电,壳牌电动两轮车亮相2022世界无线充电大会

https://www.chongdiantou.com/






